Смесители для раковины с педальным управлением
Товаров в категории:
1
По популярности
- По популярности
- Сначала дешевые
- Сначала дорогие
30 710 ₽
В наличии
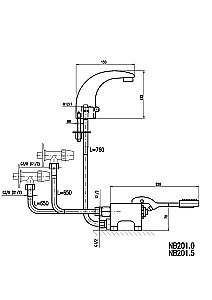
Размер
15x12.2 см
Бренд
Rav-Slezak
Страна
Чехия
Код
169466