Timo

Timo — Lina

Товаров в категории: 1
По популярности
  • По популярности
  • Сначала дешевые
  • Сначала дорогие
8 467 ₽
По запросу
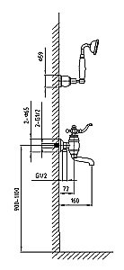
Размер 16 см
Бренд Timo
Страна Финляндия
Код 85821
Отзыв о сайте